Work Style:Auto Central
Material:20CrMnTi
Hardness:HRC58°- HRC62°
Auto-Central accuracy:  0.015
Repeat positioning accuracy: 0.015
Parallel accuracy: 100:0.005
Vertical accuracy: 50:0.02
Upmovement: Less than 0.01





 
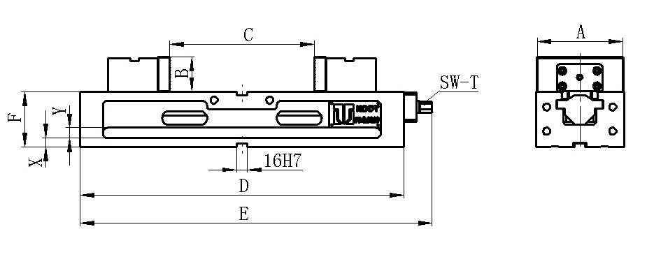
Order No
A
B
C
D
E
F
X
Y
T
Clamping Force(KN)
Weight(Kg)
HT105-100X200
100
40
200
370
411
70
11
13
14
12
19
HT105-100X300
100
40
300
470
511
70
11
13
14
12
23
HT105-125X200
125
50
200
370
411
80
13
15
14
16
28.2
HT105-125X300
125
50
300
470
511
80
13
15
14
16
32.6
HT105-150x200
150
60
200
420
476
90
15
15
19
21
46.6
HT105-150X300
150
60
300
520
576
90
15
15
19
21
54.2
HT105-150X400
150
60
400
620
676
90
15
15
19
21
62.4
HT105-175X300
175
65
300
520
600
100
15
17
19
27
74.7
HT105-175X400
175
65
400
620
700
100
15
17
19
27
85.1







Auto Centre Vises

     HOLDART Auto-Centre vises provide superior stability and accurate auto centring positioning for workpieces in challenging CNC machining and milling operations. Featuring innovative workholding technology and patented  designs, these Auto-centre vises offer unparalleled precision and repeatability.  You can make it easy to find the right auto centring high precision vise for any application.